موضوعات داغ

ثبت اختراع ماساژور پا در کف خودرو توسط جنرال موتورز

عکس نویسنده
مرتضی قانع
نویسنده
عکس مطلب اول

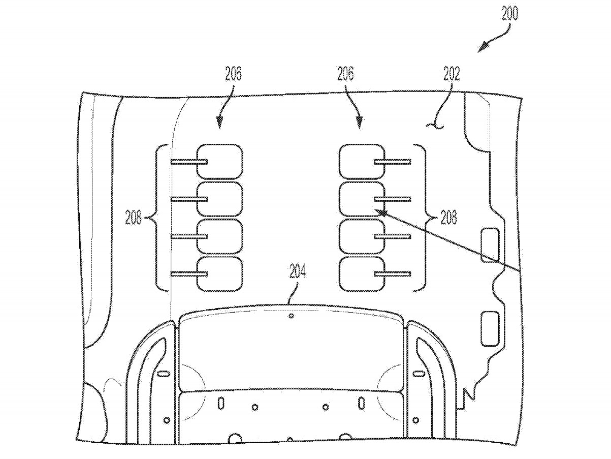
پرونده جدید منتشر شده توسط دفتر ثبت اختراعات ایالات متحده نشان می‌دهد که جنرال موتورز تمایل به ارائه خودروهایی با قابلیت ماساژ پای مسافران دارد.

حق ثبت اختراع سیستم ماساژ پا در کف وسایل نقلیه نشان می‌دهد که کیسه های کوچک هوا که قابلیت پر یا خالی شدن را دارند، در صورت قرار گرفتن در کف محفظه خودرو، می‌توانند به عنوان ماساژور پا عمل کنند.

به طور کلی، بیشتر صندلی های ماساژور به این صورت کار می‌کنند. بنابراین این فناوری، یک فناوری پیشگامانه محسوب نمی‌شود و لزوماً جدید نیست.

سدان بزرگ آئودی A8، در حال حاضر این ویژگی را ارائه می‌دهد. استفاده از این فناوری مستلزم آن است که سرنشین صندلی عقب، پاهای خود را به سمت بالا گرفته و روی تکیه گاهی قرار دهد که از قسمت صندلی سرنشین جلو تا می‌شود. این امر در مورد A8 بسیار به جا است زیرا این خودرو اغلب به عنوان لیموزین خریداری می شود و برای امور کاری مورد استفاده قرار می‌گیرد.

توانایی ماساژ پا توسط خودرو در اتومبیل های کوچک تر که قسمت سرنشین آن کاملا پر می‌شود، محدودتر خواهد بود. یک ماشین کوچکتر، حتی یک مدل لوکس مانند کادیلاک CT5، ممکن است نتواند از چنین سیستمی استفاده کند. بنابراین این سیستم باید درجایی باشد که مفید واقع شود.

ماساژور جنرال موتورز

شایان ذکر است که این سیستم می‌تواند در اختیار همه سرنشینان قرار گیرد. برخلاف آئودی که این سیستم فقط برای سرنشینان عقب خودرو ارائه می‌شود، سیستم GM می‌تواند در هر قسمت از خودرو در دسترس باشد.

مسئله دیگری نیز وجود دارد که در آئودی مشهود است. جای پای مسافران معمولاً کثیف می‌شود و ماساژور شما را مجبور می‌کند کفش های خود را در بیاورید. از آنجایی که آئودی از شما می‌خواهد پاهای خود را در جای مخصوص قرار دهید احتمال خاکی بودن کفش ها و آلودگی بسیار کم می‌شود و بنابراین، این اختراع GM شما را ملزم به تمیز نگه داشتن کف ماشین خود می‌کند.

نظرات کاربران

دیدگاه های شما پس از تایید توسط خودروبانک نمایش داده خواهند شد